在小米SU7和小米YU7兩款車型之后,小米申請了多枚“U”字輩商標,或為未來新車做準備。
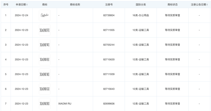
天眼查知識產權信息顯示,近日,小米科技有限責任公司申請注冊“XIAOMI FU”“XIAOMI WU”“XIAOMI OU”“XIAOMI MU”“XIAOMI GU”“XIAOMI RU”商標,國際分類為運輸工具,當前商標狀態均為等待實質審查。

小米汽車首款車型SU7于去年3月28日正式上市,定位純電智能轎車,標準版(后驅長續航智駕版)定價為21.59萬元,較同類競品特斯拉低出超過3萬元。新車上市后引發市場強烈反響,交付周期長達數周。
2024年,小米汽車憑借SU7一款車型,全年交付超過13.5萬輛,2025年交付目標30萬輛。
小米汽車的第二款車型YU7在2024年底登陸工信部第390批《道路機動車輛生產企業及產品公告》,新車為純電SUV,尺寸與現有的SU7車型相近,但在寬度和高度上有所增加。
小米董事長兼CEO雷軍發文解釋全新SUV車型提前公示原因時表示,希望YU7測試車可以盡早拆除重偽裝,“有助于我們做更全面、更細致的長時間大規模測試。”該車預計于今年六至七月正式上市。

此前業內一份流傳的產品路線圖揭示了小米汽車在2024年至2027年的新車規劃,小米或在未來三年內推出四款新車型,其中包括備受矚目的增程式SUV車型。
另據科技媒體36氪報道,小米的第三款車的初步定位在15萬元級,預計于2026年推出。
雷軍曾為小米汽車定下目標,希望通過15-20年的努力,成為全球前五的汽車廠商。在投入方面,小米汽車預計10年投入100億美元,首期為100億元人民幣。雷軍在近日的跨年直播活動中透露,小米造車總支出大概在300億元左右。